El C90-C es un sistema de alta precisión para todas las orientaciones. Brújula electrónica 3DUtilizando algoritmos avanzados de calibración de hierro duro y blando, proporciona información de rumbo de alta precisión en un rango de 360° de balanceo y +/-90° de ángulo de inclinación total. Su tamaño compacto y bajo consumo energético lo hacen ideal para sistemas de medición sensibles al consumo de energía. La precisión de la orientación del sensor permite su uso en sistemas con rotación completa. Este producto incluye compensación de inclinación y de campo magnético duro y blando, y la brújula proporciona valores de medición de alta precisión tras la calibración.
Número de pieza, :
C90-CPedido (MOQ) :
1Modo de salida :
RS232/RS485/TTL/RS422 optionalAmplia gama de temperaturas de funcionamiento :
-40~+85℃Tamaño :
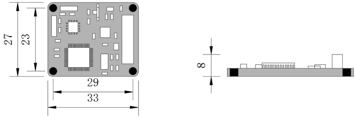
(33*27*8mm) (can be customized)Entrada de voltaje :
DC +5V (DC +9~36V can be customized)Nivel de protección :
IP67 (IP68 customized)Series de productos y parámetros
| Parámetro | C90-C | |
| Parámetros de rumbo de la brújula | Precisión de rumbo | 0,3~0,5° (RMS, paso)<85°) |
| Resolución | 0,1° | |
| Repetibilidad | 0,05° | |
| Parámetros de inclinación de la brújula | Precisión del tono | 0,1° |
| Precisión de rodadura | 0,1° (paso)<65°) | |
| 0,2° (paso)<80°) | ||
| 0,5° (paso)<86°) | ||
| Resolución del ángulo de inclinación | 0,01° | |
| Rango de inclinación | Inclinación: ±90°; Balanceo: 360° | |
| Calibración | Calibración de hierro duro | Sí |
| Calibración de hierro blando | Sí | |
| Calibración de inclinación | Sí | |
| Propiedades físicas | Tamaño | L33*W27*H8 (mm) |
| Peso | 10 g | |
| Conector de interfaz RS-232/RS485 | línea directa de salida | |
| Características de la interfaz | Retraso en el arranque | <50 ms |
| Frecuencia máxima de muestreo | 50 veces/segundo | |
| Velocidad de comunicación RS-232 | Velocidad de 2400 a 19200 baudios | |
| Comunicación RS-485 | opcional | |
| Comunicación TTL | opcional | |
| Formato de salida | hexadecimal | |
| Fuente de alimentación | Voltaje de soporte | CC +5V (9~36V) |
| Corriente (máx.) | 40 mA | |
| Modo de funcionamiento | 30 mA | |
| Ambiente | Rango de almacenamiento | -40℃--+125℃ |
| Temperatura de funcionamiento | -40℃--+85℃ | |
| Resistencia a la vibración | 2600 g | |
proceso de producción
Dimensiones del producto

Dimensiones del producto: 33 mm de largo x 27 mm de ancho x 8 mm de alto.
Por defecto, la instalación se realiza horizontalmente hacia arriba: durante la instalación, la superficie de montaje del sensor debe mantenerse paralela a la superficie del objetivo a medir; consulte el diagrama de rotación para conocer el método de instalación. Si se requieren otros métodos de instalación, consulte la descripción esquemática de "Método de instalación del producto" e indíquelo al realizar el pedido.
Escenarios de aplicación



Preguntas frecuentes
Xml política de privacidad blog Mapa del sitio
Derechos de autor @ Micro-Magic Inc Reservados todos los derechos.
RED COMPATIBLE